X为了获得更好的用户体验,请使用火狐、谷歌、360浏览器极速模式或IE8及以上版本的浏览器
关于我们 | 帮助中心
欢迎来到天长市科技大市场,请 登录 | 注册
尊敬的 , 欢迎光临!  [会员中心]  [退出登录]
成果 专家 院校 需求
当前位置: 首页 >  科技成果  > 详细页

[00000017]一种利用氢氧化镁生产氧化镁的装置

交易价格: 6 万元

所属行业: 其他机械

类型: 实用新型专利

技术成熟度: 通过小试

专利所属地:中国

专利号:CN201620887846

交易方式: 完全转让

联系人: 刘媛莉

进入空间

所在地: 青海西宁市

服务承诺
产权明晰
资料保密
对所交付的所有资料进行保密
如实描述

技术详细介绍

  研发目的:

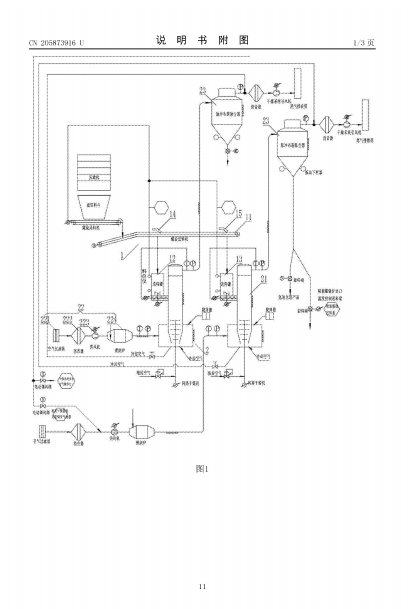
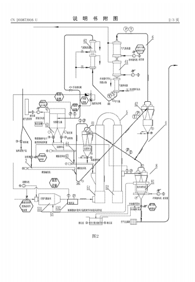
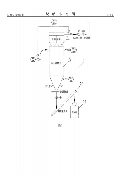
  实用新型公开了一种利用氢氧化镁生产氧化镁的装置,包括干粉设备和煅烧设备,干粉设备包括原料输送机构和干粉生成机构,煅烧设备包括干粉输送机构、干粉预热机构、干粉煅烧机构和产品冷却机构,原料输送机构、干粉生成机构、干粉输送机构、干粉预热机构、干粉煅烧机构和产品冷却机构依次相连,干粉生成机构包括闪蒸干燥机,干粉煅烧机构包括旋流动态煅烧炉。本实用新型为利用氢氧化镁生产氧化镁的装置,采用干粉设备和煅烧设备相结合,能实现热量的充分利用,并能最终生产出优质的活性氧化镁。

推荐服务:

Copyright  ©  2019    天长市科技大市场    版权所有

地址:滁州高新区经三路

皖ICP备2023004467