X为了获得更好的用户体验,请使用火狐、谷歌、360浏览器极速模式或IE8及以上版本的浏览器
关于我们 | 帮助中心
欢迎来到天长市科技大市场,请 登录 | 注册
尊敬的 , 欢迎光临!  [会员中心]  [退出登录]
成果 专家 院校 需求
当前位置: 首页 >  科技成果  > 详细页

[00010232]一种可调节打孔器

交易价格: 230 万元 - 800 万元

所属行业: 其他机械

类型: 实用新型专利

技术成熟度: 已有样品

专利所属地:中国

专利号:201520146552.3

交易方式: 完全转让 许可转让 技术入股

联系人: 李伟

进入空间

所在地: 安徽滁州市

服务承诺
产权明晰
资料保密
对所交付的所有资料进行保密
如实描述

技术详细介绍

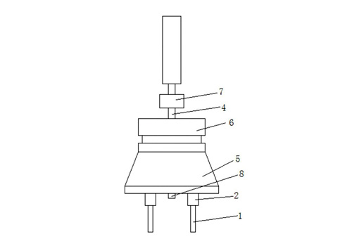
  本实用新型公开了一种可调节打孔器,包括切刀、刀架、主套、调节螺杆、调节外套、连接套和封盖,所述切刀设置在刀架上,刀架安装在主套上,所述主套外侧设有调节外套,主套中心设有调节螺杆,调节螺杆带动主套旋转,所述切刀与调节螺杆轴线的距离通过调节外套调节。本实用新型的可调节打孔器,可调节打不同孔径大小的孔,打孔方便,易于调节,工作效率高,结构简单,打孔后的废料是整料,可以二次利用,节省材料,而且价格低,节约成本。

  优点:

  1.本产品基本上取代了机械上用的大型钻头。

  2.本产品属于独家市场。

  3.本产品的利润非常高。

  4.本产品成本价格很低。

  5.本产品可以调节打不的孔。

  6.本产品打出的孔料可以二次使用,现在市场打的孔是碎料,只能当垃圾处理。

  7.本产品打孔方便,工作效率跟高。

  8.本产品价格比现有产品价格低几倍。

  9.说明一下:因代理人的原因把发明专利申请成了实用新型,投资者若不信可以到市场上调查。

推荐服务:

Copyright  ©  2019    天长市科技大市场    版权所有

地址:滁州高新区经三路

皖ICP备2023004467