X为了获得更好的用户体验,请使用火狐、谷歌、360浏览器极速模式或IE8及以上版本的浏览器
关于我们 | 帮助中心
欢迎来到天长市科技大市场,请 登录 | 注册
尊敬的 , 欢迎光临!  [会员中心]  [退出登录]
成果 专家 院校 需求
当前位置: 首页 >  科技成果  > 详细页

[00011059]一种具有履带的可爬楼梯行李箱

交易价格: 10 万元

所属行业: 其他家居用品

类型: 实用新型专利

技术成熟度: 通过小试

专利所属地:中国

专利号:200920048872.x

交易方式: 完全转让

联系人: 王宏

进入空间

所在地: 安徽合肥市

服务承诺
产权明晰
资料保密
对所交付的所有资料进行保密
如实描述

技术详细介绍

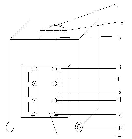
一种具有履带的可爬楼梯行李箱,它是在行李箱的里侧安装一承重板,其两端各装有四个滑轮并具有履带,每列四个滑轮固定于连接台,连接台上部用连接杆连接,形成一整体,下部靠里侧底部铰支,可90度转动。行李箱上部在伸缩手柄和固定手柄间加设一附加手柄。本发明专利结构稳定,使用方便,爬楼梯效果好。

推荐服务:

Copyright  ©  2019    天长市科技大市场    版权所有

地址:滁州高新区经三路

皖ICP备2023004467