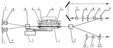
双波长钕激光器腔内倍频腔外和频的红绿蓝三基色激光器,涉及一种产生红绿蓝(RGB)三基色激光的新技术,它是基于钕激光晶体中钕离子4F3/2-4I11/2和4F3/2-4I13/2跃迁产生的1.3微米和1微米波段辐射的双波长激光通过腔内倍频获得红色和绿色激光,部分输出的1.3微米激光与部分红色激光在腔外和频获得蓝光。通过控制材料参数和激光运行参数等获得相应比例的1.3微米、红色和绿色激光,以获得均衡、同时输出的红绿蓝三基色激光,并通过对基波的声光调Q提高倍频的转换效率。上述技术产生三基色激光,设备简单、成本低,可作为激光彩色显示的光源,广泛应用于大屏幕、高清晰度彩色电视、激光表演、激光投影仪和指挥、监控、调度中心的大屏幕、高清晰度的彩色显示设备等彩色显示领域。
