X为了获得更好的用户体验,请使用火狐、谷歌、360浏览器极速模式或IE8及以上版本的浏览器
关于我们 | 帮助中心
欢迎来到天长市科技大市场,请 登录 | 注册
尊敬的 , 欢迎光临!  [会员中心]  [退出登录]
成果 专家 院校 需求
当前位置: 首页 >  科技成果  > 详细页

[00018709]一种密码防盗随机变化数字键盘

交易价格: 5 万元

所属行业: 其他电气自动化

类型: 实用新型专利

技术成熟度: 正在研发

专利所属地:中国

专利号:ZL201320549676.7

交易方式: 5年独占许可转让

联系人: 周庆礼

进入空间

所在地: 天津天津市

服务承诺
产权明晰
资料保密
对所交付的所有资料进行保密
如实描述

技术详细介绍

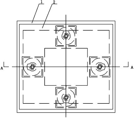
本实用新型涉及一种密码防盗随机变化数字键盘,包括功能按键、数字按键及控制电路,所述按键包括键帽、数码管显示器、导电橡胶触发器、支撑套、支撑柱、薄膜触板及电路板,在电路板上固装薄膜触板,在薄膜触板上固装导电橡胶触发器,在导电橡胶触发器上通过支撑套、支撑柱导向滑动安装键帽,在键帽中间部位下方的薄膜触板上固装数码管。本实用新型针对传统密码键盘存在的缺陷,通过89C51单片机利用内部定时器与中断结合的方法产生随机数,在LED七段数码管显示的0-9数字每次的位置随机变化的动态随机数字防盗密码键盘,不仅可应用于ATM机的密码输入,还可广泛应用于其他各种利用键盘输入密码的设备,如POS机、保险柜、防盗门等,对国家经济的发展和公民信息的保护具有极大的意义。

推荐服务:

Copyright  ©  2019    天长市科技大市场    版权所有

地址:滁州高新区经三路

皖ICP备2023004467