X为了获得更好的用户体验,请使用火狐、谷歌、360浏览器极速模式或IE8及以上版本的浏览器
关于我们 | 帮助中心
欢迎来到天长市科技大市场,请 登录 | 注册
尊敬的 , 欢迎光临!  [会员中心]  [退出登录]
成果 专家 院校 需求
当前位置: 首页 >  科技成果  > 详细页

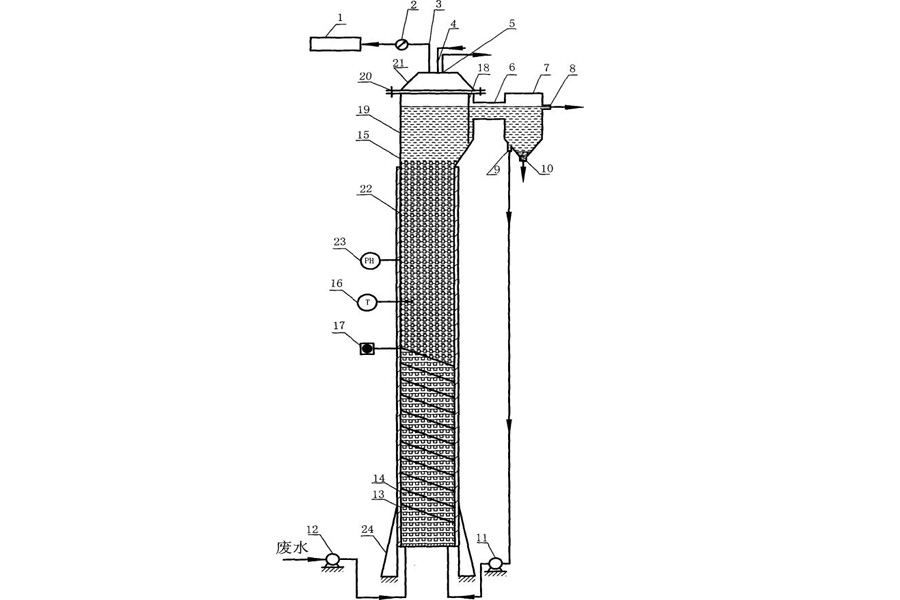
[00018722]厌氧流化床生物反应器

交易价格: 5 万元

所属行业: 控制系统

类型: 实用新型专利

技术成熟度: 正在研发

专利所属地:中国

专利号:ZL201320874595.4

交易方式: 5年独占许可转让

联系人: 周庆礼

进入空间

所在地: 天津天津市

服务承诺
产权明晰
资料保密
对所交付的所有资料进行保密
如实描述

技术详细介绍

本实用新型涉及厌氧流化床生物反应器,它包括:床体、封头、分离器、蠕动泵和离心泵,床体由直管、变径管和顶管组成,顶管在直管的上方,变径管连接在顶管 和直管之间,直管、变径管和顶管被连接在一起,封头通过法兰装在顶管上,顶管通过连通管与分离器相连,分离器底部开有循环液口,分离器的上部开有排水口, 循环液口通过离心泵与直管的底部相连,废水通过蠕动泵进入床体的底部,在直管上还装有加热器,床体内装有沸石,沸石的比表面积为20-25m2/g;本实用新型使细菌生物膜附着沸石上,提高工业废水和剩余污泥与细菌生物膜之间的传质效率,并且充分利用流化床技术的优势,使工业污水和污水厂剩余污泥的处理效率大大提高。

推荐服务:

Copyright  ©  2019    天长市科技大市场    版权所有

地址:滁州高新区经三路

皖ICP备2023004467