X为了获得更好的用户体验,请使用火狐、谷歌、360浏览器极速模式或IE8及以上版本的浏览器
关于我们 | 帮助中心
欢迎来到天长市科技大市场,请 登录 | 注册
尊敬的 , 欢迎光临!  [会员中心]  [退出登录]
成果 专家 院校 需求
当前位置: 首页 >  科技成果  > 详细页

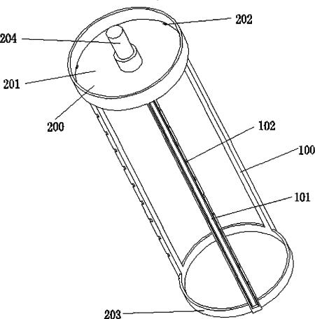
[00018724]一种刮板分子蒸馏装置的储料刮板机构

交易价格: 5 万元

所属行业: 其他机械

类型: 实用新型专利

技术成熟度: 正在研发

专利所属地:中国

专利号:ZL201420115155.5

交易方式: 5年独占许可转让

联系人: 周庆礼

进入空间

所在地: 天津天津市

服务承诺
产权明晰
资料保密
对所交付的所有资料进行保密
如实描述

技术详细介绍

本实用新型公开了一种刮板式分子蒸馏装置的储料刮板机构,涉及刮膜减压蒸馏装置中的成模机构。该储料刮板机构由三个储料刮板和固定架组成,所述固定架由储 料盘、固定环,中心传动轴组成;所述固定环通过刮板与储料盘联接,所述中心传动轴与储料盘钢性联接。本储料刮板机构可以储存待分离试样,避免不断地在筒体 上端进料、布料。储存的待分离试样的溢出速度可以由外侧溢料槽的大小和数量以及转速控制,可以避免未分离前流淌,提高分离效率。同时,此蒸馏装置的储料刮 板可以与非储料式刮板配合使用,既可以储存一定量的待分离试样,又可以保证刮出的膜厚度均一,提高工作效率。

推荐服务:

Copyright  ©  2019    天长市科技大市场    版权所有

地址:滁州高新区经三路

皖ICP备2023004467