X为了获得更好的用户体验,请使用火狐、谷歌、360浏览器极速模式或IE8及以上版本的浏览器
关于我们 | 帮助中心
欢迎来到天长市科技大市场,请 登录 | 注册
尊敬的 , 欢迎光临!  [会员中心]  [退出登录]
成果 专家 院校 需求
当前位置: 首页 >  科技成果  > 详细页

[00018873]一种利用膜电容去离子连续废水处理装置

交易价格: 5 万元

所属行业: 其他机械

类型: 实用新型专利

技术成熟度: 正在研发

专利所属地:中国

专利号:ZL201420293684.4

交易方式: 5年独占许可转让

联系人: 周庆礼

进入空间

所在地: 天津天津市

服务承诺
产权明晰
资料保密
对所交付的所有资料进行保密
如实描述

技术详细介绍

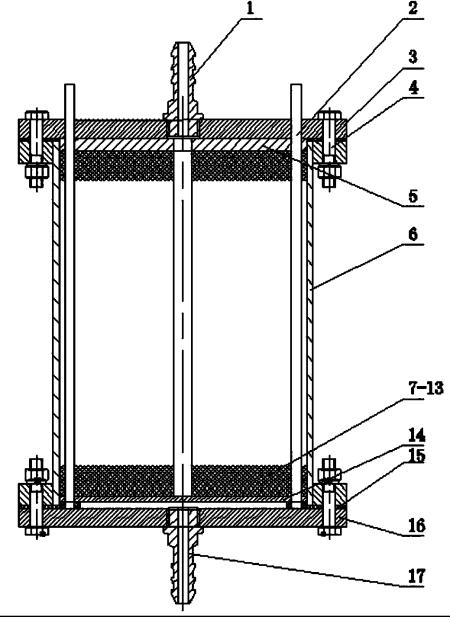
本实用新型涉及一种利用膜电容去离子连续废水处理装置,圆筒形的壳体上下端同轴安装上下盖板,在上、下盖板的中轴部位与壳体内连通安装进出水嘴,在壳体内 的上盖板上同轴安装有集水板,在壳体外缘均布间隔轴向安装有导电杆,在布水板与集水板之间的壳体内同轴安装有下配电板及上配电板,上、下配电板为一对金属 板,在该两个配电板之间同轴安装有上集流板、膜碳正电极、隔膜、膜碳负电极、下集流板为一组的多组处理模块组件。本实用新型所涉及的膜电极是碳电极与离子 膜制成一体的,采用在阴极上喷涂阳离子交换涂层,在阳极上喷涂阴离子交换涂层,制备成膜电极,其离子交换层的厚度小于10微米,比直接加上离子膜的电阻 小,电容量大。

推荐服务:

Copyright  ©  2019    天长市科技大市场    版权所有

地址:滁州高新区经三路

皖ICP备2023004467