X为了获得更好的用户体验,请使用火狐、谷歌、360浏览器极速模式或IE8及以上版本的浏览器
关于我们 | 帮助中心
欢迎来到天长市科技大市场,请 登录 | 注册
尊敬的 , 欢迎光临!  [会员中心]  [退出登录]
成果 专家 院校 需求
当前位置: 首页 >  科技成果  > 详细页

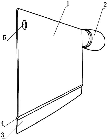
[00018904]一种安全刀具

交易价格: 5 万元

所属行业: 办公文教

类型: 实用新型专利

技术成熟度: 正在研发

专利所属地:中国

专利号:ZL201320773859.7

交易方式: 5年独占许可转让

联系人: 周庆礼

进入空间

所在地: 天津天津市

服务承诺
产权明晰
资料保密
对所交付的所有资料进行保密
如实描述

技术详细介绍

本实用新型涉及一种安全刀具,包括手柄、刀面以及刀刃,刀面下端制有刀刃,刀面上部后端固装有手柄,所述刀刃 上端与刀面之间制有向刀面右侧倾斜的弯折,折弯使刀刃与刀面之间留有安全距离。本实用新型的结构简单、设计合理、使用方便,改进后会让人使用起来更加安 全,方便,并且省却了使用中的烦恼,如粘刀等。

推荐服务:

Copyright  ©  2019    天长市科技大市场    版权所有

地址:滁州高新区经三路

皖ICP备2023004467