X为了获得更好的用户体验,请使用火狐、谷歌、360浏览器极速模式或IE8及以上版本的浏览器
关于我们 | 帮助中心
欢迎来到天长市科技大市场,请 登录 | 注册
尊敬的 , 欢迎光临!  [会员中心]  [退出登录]
成果 专家 院校 需求
当前位置: 首页 >  科技成果  > 详细页

[00028598]一种电柜汇流装置

交易价格: 5 万元

所属行业: 其他电气自动化

类型: 实用新型专利

技术成熟度: 通过小试

专利所属地:中国

专利号:CN201620757965

交易方式: 完全转让 5年独占许可转让

联系人: 刘媛莉

进入空间

所在地: 青海西宁市

服务承诺
产权明晰
资料保密
对所交付的所有资料进行保密
如实描述

技术详细介绍

研发目的:

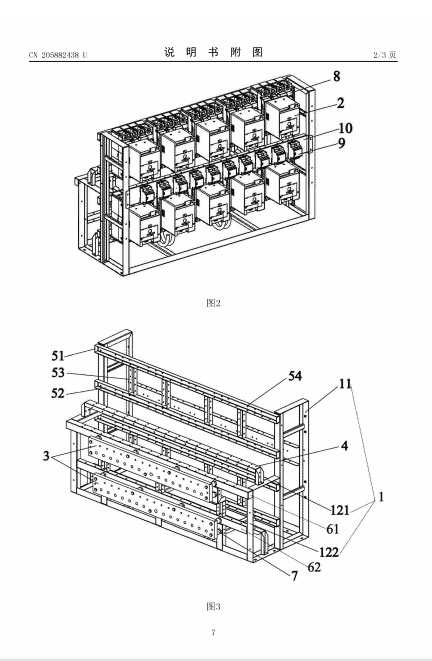
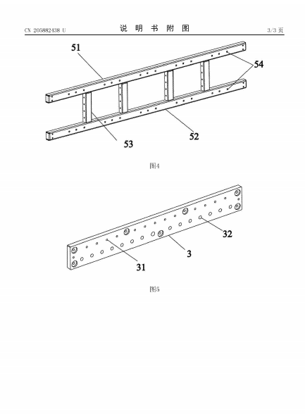
本实用新型属于汇流装置技术领域,尤其涉及一种电柜汇流装置,包括支撑结构、断路器、汇流排和搁线架,所述支撑结构包括第一安装部和第二安装部,所述第二安装部包括横向平台和竖向平台,所述横向平台位于所述竖向平台顶部,所述断路器安装于所述第一安装部,所述汇流排安装于所述竖向平台上,所述搁线架安装于所述横向平台上。相对于现有技术,本实用新型的有益效果在于:一方面,通过支撑结构、断路器、汇流排等集成了多电柜的汇流功能,解决了多电柜的汇流问题;另一方面,支撑结构上各部件的安装设置考虑到了前后重量分配比、高低压走线的问题,能在较紧凑的空间内合理布局,从而提高了整个电柜汇流装置的安全性、可靠性。


推荐服务:

Copyright  ©  2019    天长市科技大市场    版权所有

地址:滁州高新区经三路

皖ICP备2023004467