X为了获得更好的用户体验,请使用火狐、谷歌、360浏览器极速模式或IE8及以上版本的浏览器
关于我们 | 帮助中心
欢迎来到天长市科技大市场,请 登录 | 注册
尊敬的 , 欢迎光临!  [会员中心]  [退出登录]
成果 专家 院校 需求
当前位置: 首页 >  科技成果  > 详细页

[00028607]牦牛肉自动烘干装置

交易价格: 5 万元

所属行业: 其他机械

类型: 实用新型专利

技术成熟度: 通过小试

专利所属地:中国

专利号:CN201620457032

交易方式: 完全转让 5年独占许可转让

联系人: 刘媛莉

进入空间

所在地: 青海西宁市

服务承诺
产权明晰
资料保密
对所交付的所有资料进行保密
如实描述

技术详细介绍

研发目的:

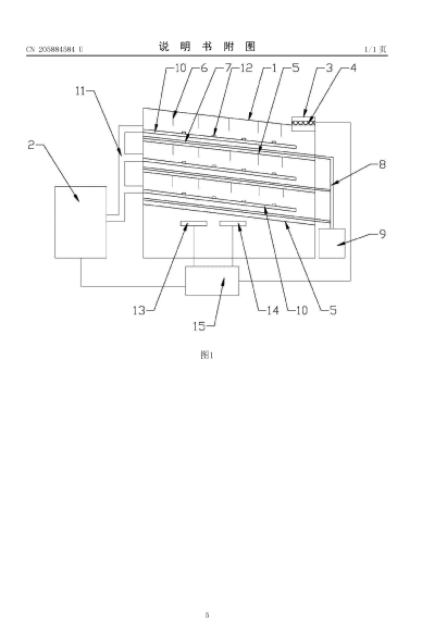
本实用新型涉及一种烘干设备,具体涉及一种牦牛肉自动烘干装置,包括烘干箱,烘干箱的一端连接有热风机,烘干箱的上部设有排湿口,排湿口内设有排风扇,烘干箱内设有至少两个隔板,烘干箱的顶部设有挂钩,除最下层隔板之外的其余隔板的下表面均设有挂钩,隔板倾斜设置且其两端与烘干箱的侧壁连接,隔板的上表面设有集流槽,集流槽的横截面为V形,集流槽的倾斜方向与隔板的倾斜方向一致,集流槽的下端通过集液管道与外设污水收集箱连通;隔板的上方设有热风管,热风管的进风端与热风机之间通过输气管道实现贯通,热风管上设有热风口,热风口位于相邻挂钩之间。采用本实用新型技术方案的牦牛肉自动烘干装置,改善了生产环节中的环境污染的问题,且具有烘干效果好,效率高的特点。


推荐服务:

Copyright  ©  2019    天长市科技大市场    版权所有

地址:滁州高新区经三路

皖ICP备2023004467