X为了获得更好的用户体验,请使用火狐、谷歌、360浏览器极速模式或IE8及以上版本的浏览器
关于我们 | 帮助中心
欢迎来到天长市科技大市场,请 登录 | 注册
尊敬的 , 欢迎光临!  [会员中心]  [退出登录]
成果 专家 院校 需求
当前位置: 首页 >  科技成果  > 详细页

[00287902]一种金矿用绞车排绳装置

交易价格: 5 万元

所属行业: 其他机械

类型: 实用新型专利

技术成熟度: 通过小试

专利所属地:中国

专利号:CN201620805452

交易方式: 完全转让 5年独占许可转让

联系人: 刘媛莉

进入空间

所在地:

服务承诺
产权明晰
资料保密
对所交付的所有资料进行保密
如实描述

技术详细介绍

研发目的:

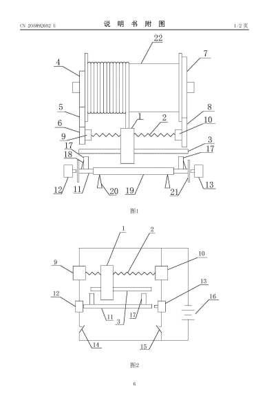
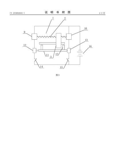
本实用新型涉及绞车技术领域,具体涉及一种金矿用绞车排绳装置,包括导绳机构、贯穿设置在导绳机构上的转动丝杠和导向杆,还包括正转边齿轮、中间齿轮、正转齿轮、反转边齿轮、反转齿轮、正转电磁离合器、反转电磁离合器、换向杆、正转常开开关、反转常开开关、第一开关、第二开关和电源。导绳机构安装在转动丝杠和导向杆上,转动丝杠两端通过电磁离合器与滚筒两端的边齿轮连接,从而控制导绳机构左右移动,通过换向杆带动常开开关的通断,可以实现排绳装置的自动换向,该装置结构简单、操作方便、排绳效果好。


推荐服务:

Copyright  ©  2019    天长市科技大市场    版权所有

地址:滁州高新区经三路

皖ICP备2023004467