X为了获得更好的用户体验,请使用火狐、谷歌、360浏览器极速模式或IE8及以上版本的浏览器
关于我们 | 帮助中心
欢迎来到天长市科技大市场,请 登录 | 注册
尊敬的 , 欢迎光临!  [会员中心]  [退出登录]
成果 专家 院校 需求
当前位置: 首页 >  科技成果  > 详细页

[00287903]一种镁电解槽原料的加料装置

交易价格: 5 万元

所属行业: 其他机械

类型: 实用新型专利

技术成熟度: 通过小试

专利所属地:中国

专利号:CN201520996751

交易方式: 完全转让 5年独占许可转让

联系人: 刘媛莉

进入空间

所在地:

服务承诺
产权明晰
资料保密
对所交付的所有资料进行保密
如实描述

技术详细介绍

研发目的:

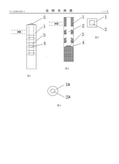
本实用新型涉及氯化镁电解领域,具体公开了一种镁电解槽原料的加料装置,包括镁电解槽集镁室的砌筑结构、氯化镁料通道、下部氯化镁料出口及密封盖;在镁电解槽集镁室中砌筑加料装置的砌筑结构;砌筑结构内部预留有氯化镁料通道;在镁层以下的通道周围设有1~3层氯化镁料出口,每层设有3个氯化镁料出口;氯化镁料通道的上部设有密封盖。本实用新型的镁电解槽原料的加料装置在加入氯化镁固体颗粒或液体料时,可以避免对液态镁金属层的扰动所导致的氯化镁电解电流效率和镁金属纯度的降低。此外氯化镁料通道上部还可用于镁电解槽操作过程中的工具和设备预热,避免了为执行此操作而打开集镁室密封盖所造成的液体金属镁氧化损失。


推荐服务:

Copyright  ©  2019    天长市科技大市场    版权所有

地址:滁州高新区经三路

皖ICP备2023004467