X为了获得更好的用户体验,请使用火狐、谷歌、360浏览器极速模式或IE8及以上版本的浏览器
关于我们 | 帮助中心
欢迎来到天长市科技大市场,请 登录 | 注册
尊敬的 , 欢迎光临!  [会员中心]  [退出登录]
成果 专家 院校 需求
当前位置: 首页 >  科技成果  > 详细页

[00287936]一种耐高温溜槽及其制作工艺

交易价格: 6 万元

所属行业: 其他新材料技术

类型: 发明专利

技术成熟度: 通过小试

专利所属地:中国

专利号:CN201510281911.0

交易方式: 完全转让 5年独占许可转让

联系人: 刘媛莉

进入空间

所在地:

服务承诺
产权明晰
资料保密
对所交付的所有资料进行保密
如实描述

技术详细介绍

研发目的:

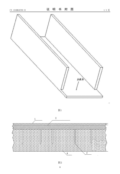
本发明公开了一种耐高温溜槽的制作工艺,包括操作1:在溜槽(1)的外表面设置耐高温不锈钢(2),在所述耐高温不锈钢(2)上设置爪钩(3);操作2:在所述耐高温爪勾(3)上刷三次沥青;操作3:将浇注料浇注在所述耐高温不锈钢(2)上,以形成浇筑面(4)。本发明还公开了一种耐高温溜槽。本发明提供的耐高温溜槽至少能够耐受高温、具有较长的使用寿命。本发明提供的耐高温溜槽的制作工艺至少能够生产出具有较长使用寿命的耐高温溜槽,提高产量并且降低能耗。


推荐服务:

Copyright  ©  2019    天长市科技大市场    版权所有

地址:滁州高新区经三路

皖ICP备2023004467