X为了获得更好的用户体验,请使用火狐、谷歌、360浏览器极速模式或IE8及以上版本的浏览器
关于我们 | 帮助中心
欢迎来到天长市科技大市场,请 登录 | 注册
尊敬的 , 欢迎光临!  [会员中心]  [退出登录]
成果 专家 院校 需求
当前位置: 首页 >  科技成果  > 详细页

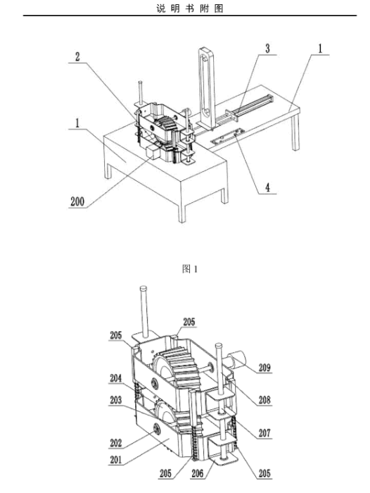
[00035019]一种直线滑轨打磨装置

交易价格: 2.95 万元

所属行业: 其他机械

类型: 发明专利

技术成熟度: 已有样品

专利所属地:中国

专利号:2018101970639 

交易方式: 完全转让

联系人: 陈浩

进入空间

所在地: 安徽合肥市

服务承诺
产权明晰
资料保密
对所交付的所有资料进行保密
如实描述

技术详细介绍

一种直线滑轨打磨装置,是由底座、打磨机构、送料机构和控制台组成的,属于打磨工具领域,工作人员操作控制台,先把待打磨直线滑轨放置于直线滑轨凹槽上,送料气缸把待打磨直线滑轨送至前端待打磨区,控制步进电机运动,从而带动下面的偏心齿轮转动,通过啮合带动上面的偏心齿轮转动,从而带动打磨砂轮转动,犹豫齿轮是偏心装置,从而实现了一定范围的上下运动,从而实现沿着直线滑轨内槽来做打磨,打磨完成后取出即可。

推荐服务:

Copyright  ©  2019    天长市科技大市场    版权所有

地址:滁州高新区经三路

皖ICP备2023004467