X为了获得更好的用户体验,请使用火狐、谷歌、360浏览器极速模式或IE8及以上版本的浏览器
关于我们 | 帮助中心
欢迎来到天长市科技大市场,请 登录 | 注册
尊敬的 , 欢迎光临!  [会员中心]  [退出登录]
成果 专家 院校 需求
当前位置: 首页 >  科技成果  > 详细页

[00035035]一种便于取用的止血膜储存装置

交易价格: 2.85 万元

所属行业: 医疗器械

类型: 发明专利

技术成熟度: 已有样品

专利所属地:中国

专利号:2018103797998

交易方式: 完全转让

联系人: 陈浩

进入空间

所在地: 安徽合肥市

服务承诺
产权明晰
资料保密
对所交付的所有资料进行保密
如实描述

技术详细介绍

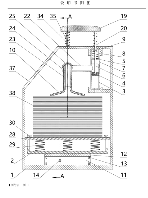
本发明涉及一种便于取用的止血膜储存装置,包括箱体和可在箱体内竖向滑动的托盘,箱体内有置于托盘上方的气缸,气缸内有第一活塞、第二活塞和推杆,推杆的下端与第一活塞连接,推杆与第二活塞滑动连接;气缸内有置于第二活塞上方的拉簧,拉簧的两端分别与气缸和第二活塞连接,推杆上有置于第二活塞上方的凸缘;气缸上有置于气缸左侧的吸盘,吸盘的上端与气缸转动连接,吸盘的内侧与气缸的内侧连通;箱体内有置于托盘下方的两个立板与置于托盘下方的平板,立板可前后滑动地安装在箱体上,平板与托盘连接,两个立板与平板分别经连杆连接;箱体内有可转动的丝杆,丝杠上设有两段旋向相反的螺纹,丝杠与两个立板分别经两段不同旋向的螺纹连接。

推荐服务:

Copyright  ©  2019    天长市科技大市场    版权所有

地址:滁州高新区经三路

皖ICP备2023004467