X为了获得更好的用户体验,请使用火狐、谷歌、360浏览器极速模式或IE8及以上版本的浏览器
关于我们 | 帮助中心
欢迎来到天长市科技大市场,请 登录 | 注册
尊敬的 , 欢迎光临!  [会员中心]  [退出登录]
成果 专家 院校 需求
当前位置: 首页 >  科技成果  > 详细页

[00035065]一种拉压结合式型材柔性三维拉弯成形装置

交易价格: 2.85 万元

所属行业: 其他机械

类型: 发明专利

技术成熟度: 已有样品

专利所属地:中国

专利号:2018109438965

交易方式: 完全转让

联系人: 陈浩

进入空间

所在地: 安徽合肥市

服务承诺
产权明晰
资料保密
对所交付的所有资料进行保密
如实描述

技术详细介绍

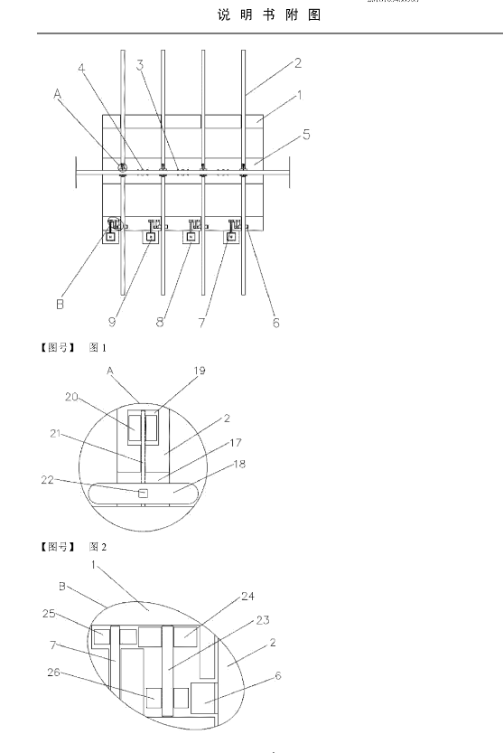
本发明公开了一种拉压结合式型材柔性三维拉弯成形装置,包括机架,所述机架的底部安装有底座,所述机架通过支柱与底座固定连接,所述机架内滑动插设有多个拉轴,所述机架上还安装有多个橡胶垫,所述拉轴设置在橡胶垫的上方,每个所述拉轴上均开设有卡槽,所述卡槽的内侧对称安装有橡胶块,每个所述拉轴的一侧均安装有驱动机构,所述驱动机构设置在机架上,所述驱动机构包括第一电机、第一驱动轴和联动轴,每个所述拉轴上均螺纹套接有螺纹套。本发明通过多个拉轴对型材进行操作,根据需要拉伸出一个或者多个拐点,且一次性可以拉伸出多个拐点的型材,一次成型能够大大降低工作时间,从而提高工作效率。

推荐服务:

Copyright  ©  2019    天长市科技大市场    版权所有

地址:滁州高新区经三路

皖ICP备2023004467