X为了获得更好的用户体验,请使用火狐、谷歌、360浏览器极速模式或IE8及以上版本的浏览器
关于我们 | 帮助中心
欢迎来到天长市科技大市场,请 登录 | 注册
尊敬的 , 欢迎光临!  [会员中心]  [退出登录]
成果 专家 院校 需求
当前位置: 首页 >  科技成果  > 详细页

[00035083]一种便携式计算机硬件维护工具箱

交易价格: 2.7 万元

所属行业: 其他机械

类型: 发明专利

技术成熟度: 已有样品

专利所属地:中国

专利号:2017112254163

交易方式: 完全转让

联系人: 陈浩

进入空间

所在地: 安徽合肥市

服务承诺
产权明晰
资料保密
对所交付的所有资料进行保密
如实描述

技术详细介绍

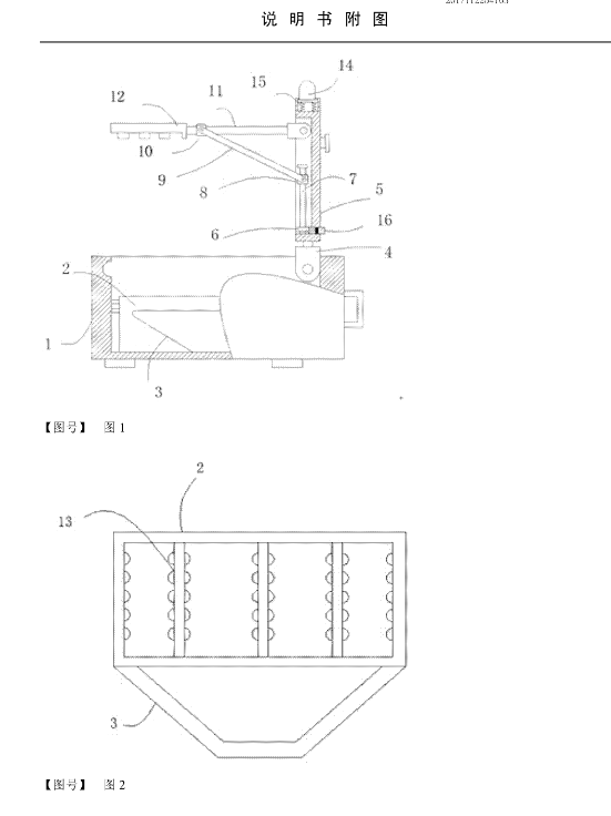
本发明公开了一种便携式计算机硬件维护工具箱,包括箱体,所述箱体的内侧固定有第一储物箱,且第一储物箱的一侧固定有第二储物箱,所述箱体的内侧转动连接有连接块,且连接块的一端转动连接有盖板,所述盖板的一侧设有安装槽,且安装槽内转动连接有齿轮,所述齿轮一端固定有螺纹杆,且螺纹杆的外侧螺纹套接有螺纹套,所述螺纹套转动连接有连接杆。本发明通过齿轮、螺纹杆、螺纹套、连接杆、连接套和固定杆等结构的配合使用,只需转动齿轮环即可对照明灯进行折叠,不仅方便在夜晚对计算机硬件进行抢修,同时,在不使用时,能很好的放置,不占用空间,且盖板还能对照明灯进行保护,使用灵活。

推荐服务:

Copyright  ©  2019    天长市科技大市场    版权所有

地址:滁州高新区经三路

皖ICP备2023004467