X为了获得更好的用户体验,请使用火狐、谷歌、360浏览器极速模式或IE8及以上版本的浏览器
关于我们 | 帮助中心
欢迎来到天长市科技大市场,请 登录 | 注册
尊敬的 , 欢迎光临!  [会员中心]  [退出登录]
成果 专家 院校 需求
当前位置: 首页 >  科技成果  > 详细页

[00035092]一种液压升降的道路施工装置

交易价格: 2.65 万元

所属行业: 液压机

类型: 发明专利

技术成熟度: 已有样品

专利所属地:中国

专利号:2017107132823

交易方式: 完全转让

联系人: 陈浩

进入空间

所在地: 安徽合肥市

服务承诺
产权明晰
资料保密
对所交付的所有资料进行保密
如实描述

技术详细介绍

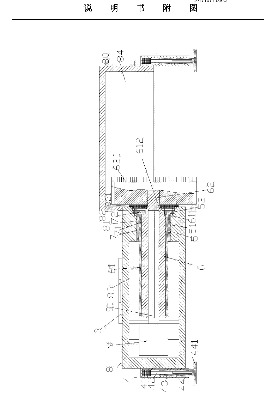
一种液压升降的道路施工装置,用于在道路施工时对施工路面上的局部凸出进行打磨,包括外部壳体8、马达9以及由所述马达9驱动的打磨头驱动杆部件6,其中,所述马达9通过固定联接的花键杆91而与所述打磨头驱动杆部件6的驱动套筒部61内的花键孔而轴向可滑动地动力联接,所述打磨头驱动杆部件6的驱动套筒部61通过渐缩连接部612而与打磨头驱动杆部件6的打磨头安装杆部62固定连接。

推荐服务:

Copyright  ©  2019    天长市科技大市场    版权所有

地址:滁州高新区经三路

皖ICP备2023004467