X为了获得更好的用户体验,请使用火狐、谷歌、360浏览器极速模式或IE8及以上版本的浏览器
关于我们 | 帮助中心
欢迎来到天长市科技大市场,请 登录 | 注册
尊敬的 , 欢迎光临!  [会员中心]  [退出登录]
成果 专家 院校 需求
当前位置: 首页 >  科技成果  > 详细页

[00035099]一种汽车装饰用空调口空气清新剂夹

交易价格: 2.55 万元

所属行业: 汽车

类型: 发明专利

技术成熟度: 已有样品

专利所属地:中国

专利号:2017111205988

交易方式: 完全转让

联系人: 陈浩

进入空间

所在地: 安徽合肥市

服务承诺
产权明晰
资料保密
对所交付的所有资料进行保密
如实描述

技术详细介绍

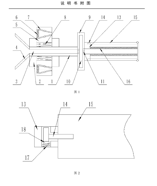
  本发明提供了一种汽车装饰用空调口空气清新剂夹,属于汽车装饰领域。包括主杆体;所述主杆体内部水平设置有抽风管道;所述主杆体左端头竖直固定套接有辅助固定块;所述辅助固定块上下两端竖直固定连接有两个第一竖直弹簧;所述两个第一竖直弹簧端头上下对称固接有两个活动控制块;所述活动控制块内部竖直设置有第二竖直弹簧;所述第二竖直弹簧上下两端水平向右端中间固定连接有两个转动夹杆且两个转动夹杆中间通过轴承连接在活动控制块中;本发明的抽风管道便于将主杆体左端空调吹出的冷气向右端输送;集风口便于扩大抽风管道左端的抽风范围;辅助固定块便于通过主杆体固定;两个第一竖直弹簧便于在辅助固定块上下伸缩。

推荐服务:

Copyright  ©  2019    天长市科技大市场    版权所有

地址:滁州高新区经三路

皖ICP备2023004467